Каминная топка Astov ПС 12080
26981e27fb12
Доставка в Казань
Удобство оплаты
Почему звонить в Очаг уже сейчас?
- Единая цена по всей России
- Бесплатная доставка
- Понимаем любой бюджет
- Считаем ВСЕ варианты
- Инструкции и видео для Монтажа
- Доступно, Оперативно, Профессионально
- Более 2 000 монтажей за 17 лет
Примеры работ #Степан_Знает
Видео галерея
Описание
Характеристики
Общие
Производитель:
Страна-производитель:
Россия
Остекление:
Материал корпуса:
Материал топки:
- Шамот
Конструкция топки:
Боковое стекло:
Нет
Размеры
Диаметр дымохода:
300 мм
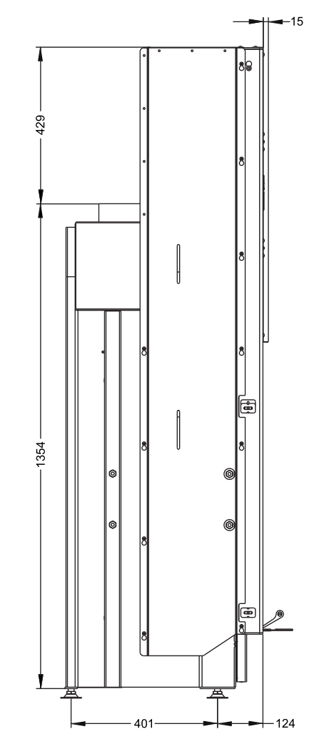
Общая ширина:
1360 мм
Общая глубина:
558 мм
Общая высота:
1775 мм
Общий вес:
500-580 кг
Высота рамки:
800 мм
Ширина рамки:
1200 мм
Производительность
Мощность:
12 кВт
КПД:
80%
Площадь отопления:
120 м²
Объем отопления:
300 м³
Использование для отопления:












